Time it takes for a capacitor to lose half of its energy

Click For Summary

Homework Help Overview

The discussion revolves around determining the time it takes for a capacitor to lose half of its stored energy after a switch in the circuit is opened. The subject area includes concepts from circuit theory, specifically relating to capacitors and resistors in various configurations.

Discussion Character

  • Exploratory, Assumption checking, Problem interpretation

Approaches and Questions Raised

  • Participants explore the relationship between the capacitor's energy and the time it takes to discharge. There are attempts to derive a formula for the time based on the capacitor's charge and resistance values. Questions arise regarding the correct configuration of resistors and how they affect the overall resistance in the circuit.

Discussion Status

Participants are actively engaging in clarifying the circuit configuration and the implications for calculating resistance. Some have provided guidance on the nature of the connections between resistors and the capacitor, while others express confusion over the correct values to use in their calculations. Multiple interpretations of the circuit setup are being explored.

Contextual Notes

There is uncertainty regarding the exact resistance values to use in the calculations, as participants debate the arrangement of resistors and the role of the capacitor in the circuit. The original circuit included a battery, which is now disconnected, leading to further discussion about the remaining components.

sliperyfrog
Messages
27
Reaction score
0

Homework Statement



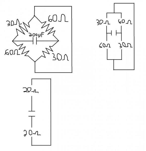
In the circuit below (drew it the best I can) the switch is opened, how much time elapses before the capacitor loses half of its initial stored energy.

Homework Equations


[/B]
q(t) = Qe-t/RC

U = q2/2C

The Attempt at a Solution


[/B]
So first thing I did was I set (1/2)Q2/2C = q2/2C then i replaced q2 for Q2e-2t/RC so I get (1/2)Q2/2C = Q2e-2t/RC/2C I cancel out the like terms and I am left with 1/2 = e-2t/RC I than get rid of the e so I get ln(1/2) =-2t/RC then i get -ln(2) = -2t/RC getting me t = RCln(2)/2 and now this is were i got confused I know C = 200E-6 F but i don't know what R is suppose to be, I think it is suppose to be 90Ω since the 30Ω and the 60Ω resistors connect together at where the capacitor is.

 

Attachments

  • Circuit.jpg
    Circuit.jpg
    16.9 KB · Views: 614
Physics news on Phys.org
Draw a separate circuit diagram for discharging without the 90V battery. In which fashion are the resistors connected?
 
Okay so i redrew it and i found out it was parallel so I did (1/60 + 1/30)-1 = 20Ω but now i am confused on whether the R in the equation is 20Ω or 40Ω since the current goes through the first 20Ω then the capacitor then another 20Ω.
 

Attachments

  • Circuit 2.jpg
    Circuit 2.jpg
    17.4 KB · Views: 543
sliperyfrog said:
Okay so i redrew it
That's not correct. Why have you drawn the external loop joining the two junctions? The discharging circuit will contain only the 4 resistors and the capacitor.
 
cnh1995 said:
Why have you drawn the external loop joining the two junctions?

I was thinking that since that loop that connects the battery was in the original circuit that the junction that connect to the battery would still be there.
 
sliperyfrog said:
I was thinking that since that loop that connects the battery was in the original circuit that the junction that connect to the battery would still be there.
No. The switch is "opened" and the loop is disconnected from the circuit.
 
So then the circuit would look like this
Circuit.jpg
And now I am back to the problem i was struggling with before is the two 90Ω resistors in parallel or is the capacitor in the the middle stopping it?
 
sliperyfrog said:
So then the circuit would look like this View attachment 110280 And now I am back to the problem i was struggling with before is the two 90Ω resistors in parallel or is the capacitor in the the middle stopping it?
They are in parallel. In fact, the capacitor too is in parallel with them. Review the theory of series and parallel components to avoid any further confusion.
 
  • Like
Likes   Reactions: sliperyfrog
So since they are in parallel that means the R in the problem is (1/90 + 1/90)-1 = 45Ω so for the answer I would get t = (45)(200E-6)ln(2)/2 = .0031s
 
  • #10
sliperyfrog said:
So since they are in parallel that means the R in the problem is (1/90 + 1/90)-1 = 45Ω so for the answer I would get t = (45)(200E-6)ln(2)/2 = .0031s
Looks good.
 
  • Like
Likes   Reactions: sliperyfrog

Similar threads

  • · Replies 1 ·
Replies
1
Views
1K
Replies
2
Views
2K
Replies
6
Views
1K
  • · Replies 15 ·
Replies
15
Views
1K
  • · Replies 2 ·
Replies
2
Views
2K
  • · Replies 6 ·
Replies
6
Views
2K
  • · Replies 2 ·
Replies
2
Views
2K
  • · Replies 3 ·
Replies
3
Views
2K
Replies
2
Views
2K
  • · Replies 5 ·
Replies
5
Views
2K