Bernoulli Equation and gauge pressure

Click For Summary

Homework Help Overview

The discussion revolves around determining the gauge pressure required for water to reach a height of 15 meters from a fire hose connected to city mains, utilizing the Bernoulli Equation. Participants are exploring the implications of pressure and velocity in fluid dynamics.

Discussion Character

  • Exploratory, Assumption checking, Conceptual clarification

Approaches and Questions Raised

  • Participants discuss the choice of points for applying the Bernoulli equation, questioning the assumptions about velocity and pressure at different heights. There is confusion regarding the conditions under which velocities at the top and bottom of the hose are considered equal.

Discussion Status

Some participants have offered insights into the implications of assuming negligible velocity in the main supply pipe and the conditions under which the water can reach the building's height. Multiple interpretations of the problem setup are being explored, particularly regarding the behavior of water in the hose versus the main supply.

Contextual Notes

There are indications that the data provided may not be sufficient for a complete analysis, and assumptions about the flow characteristics and pressure conditions are under scrutiny.

Zahid Iftikhar
Messages
121
Reaction score
24

Homework Statement


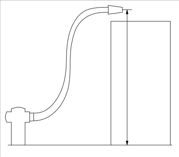
What gauge pressure is required in the city mains for a stream from a fire hose connected to the city mains to reach a vertical building of height 15m?

Homework Equations



Bernoulli Equation

The Attempt at a Solution


I have tried this sum. My confusion is regarding choice of points where Bernoulli equation is to be applied. I assume two points,one at the bottom with height h1, P1 and v1, and the other at top of the building with h2=15m, P2=0 (as water is supposed to go this much height only) and v2=0 (again water is supposed to be stationary as this is the maximum height). I can't understand how is v1=v2, this is the condition that provides the required answer. Some of my work is given in the attached image please. I shall be grateful for the reply.
my work.jpeg
 

Attachments

  • my work.jpeg
    my work.jpeg
    17.9 KB · Views: 1,302
  • Like
Likes   Reactions: Delta2
Physics news on Phys.org
Maybe you should assume that the firemen are taking the hose to the top of the roof?
 

Attachments

  • FireHose_01.jpg
    FireHose_01.jpg
    12.7 KB · Views: 621
The velocity in the main is essentially zero, because it is a big huge pipe. What does this give you?
 
stockzahn said:
Maybe you should assume that the firemen are taking the hose to the top of the roof?
Thanks for the reply. Let's assume there is large sized supply pipeline that has an outlet of any cross section where pressure is required to be found as is shown by fig you added. We attach a vertical hose 15m tall to reach the top of the building,again as per fig. If the Velocities at top and bottom of the are to be same, how will pressure at bottom be minimum. In this case water may go further up. To me at top of building both pressure and velocity have to be zero. Now if we apply Bernoulli eq. then data provided is not sufficient. Pl comment.
 
Assuming the case #1 (you've drawn):

As Chestermiller mentioned you could assume that the main supply pipe's diameter is sufficiently large to neglect the flow velocity. Then the velocity of the initial point in the main pipe is zero and the height of the generated water fountain corresponds to the pressure difference between the main pipe and the atmospheric pressure. This of course only works, if the water jet "spreads" to fulfil the mass conservation - the jet cross section must increase to diminish the velocity.

Assuming case #2:

If the water is delivered inside a hose to the roof, then it cannot spread, therefore the flow velocity must be constant along the entire length. The flow velocity though depends on the hydraulic head (the water level in the hose), hence the height of the building.

If the pressure in the main duct corresponds exactly to the "height" of the building, in case #1 the water fountain will reach the edge of the roof. In case #2 the hose will be filled entirely with water, but none of it will exit the hose and its level will be a the nozzle. In both cases the initial velocity and the final velocity are identical zero.
 
  • Like
Likes   Reactions: Delta2
stockzahn said:
Assuming the case #1 (you've drawn):

As Chestermiller mentioned you could assume that the main supply pipe's diameter is sufficiently large to neglect the flow velocity. Then the velocity of the initial point in the main pipe is zero and the height of the generated water fountain corresponds to the pressure difference between the main pipe and the atmospheric pressure. This of course only works, if the water jet "spreads" to fulfil the mass conservation - the jet cross section must increase to diminish the velocity.

Assuming case #2:

If the water is delivered inside a hose to the roof, then it cannot spread, therefore the flow velocity must be constant along the entire length. The flow velocity though depends on the hydraulic head (the water level in the hose), hence the height of the building.

If the pressure in the main duct corresponds exactly to the "height" of the building, in case #1 the water fountain will reach the edge of the roof. In case #2 the hose will be filled entirely with water, but none of it will exit the hose and its level will be a the nozzle. In both cases the initial velocity and the final velocity are identical zero.
Thanks a lot for the time. I need to ponder over the points you have reflected.
 
  • Like
Likes   Reactions: Delta2

Similar threads

  • · Replies 16 ·
Replies
16
Views
4K
  • · Replies 8 ·
Replies
8
Views
5K
  • · Replies 6 ·
Replies
6
Views
3K
Replies
2
Views
1K
  • · Replies 16 ·
Replies
16
Views
2K
  • · Replies 3 ·
Replies
3
Views
3K
  • · Replies 4 ·
Replies
4
Views
2K
  • · Replies 6 ·
Replies
6
Views
5K
Replies
3
Views
2K
  • · Replies 12 ·
Replies
12
Views
3K