How can I convert audio signals into pulses for radio transmission?

  • Thread starter Thread starter Snoopy1234
  • Start date Start date
  • Tags Tags
    Pulse
Click For Summary

Discussion Overview

The discussion revolves around the conversion of audio signals into pulses for radio transmission, specifically targeting the UHF band around 1 GHz. Participants explore various methods and components for achieving this, including pulse generators, modulation techniques, and the feasibility of using existing technology.

Discussion Character

  • Exploratory
  • Technical explanation
  • Debate/contested
  • Mathematical reasoning

Main Points Raised

  • One participant suggests using a pulse generator connected to an amplifier and a UHF transmitter to convert audio signals from a smartphone into RF pulses.
  • Another participant recommends studying Class D amplifiers and the modulating stage for the project.
  • Some participants mention PWM modulation as a potential method for converting audio signals into pulses, while others express skepticism about its efficiency for RF transmission.
  • Concerns are raised about the complexity of the project, emphasizing the need for a solid understanding of electronics and RF technology.
  • Participants discuss the implications of using digital formats and modulation schemes, suggesting that simply upconverting the digital signal may be a simpler approach.
  • Questions arise regarding the specific power levels and modulation methods to be used, with some participants seeking clarification on the requirements for transmitting in the UHF band.
  • There is a suggestion to consider laser communication as an alternative to RF transmission, highlighting its simplicity and fewer regulatory concerns.
  • One participant proposes the use of a voltage to frequency converter for audio signals, although noting the challenges at RF frequencies.

Areas of Agreement / Disagreement

Participants express differing views on the feasibility and appropriateness of various modulation techniques, particularly PWM for RF transmission. The discussion remains unresolved regarding the best approach to achieve the desired audio-to-pulse conversion and the associated technical requirements.

Contextual Notes

Participants note that the project is complex and requires a good understanding of electronics and RF technology. There are also concerns about regulatory issues related to transmitting in the UHF band in Europe.

Snoopy1234
Messages
36
Reaction score
2
Hi guys, I would like a sound for example a piece of music to be transformed into impulses. So I think I need a pulse generator that is connected to an amplifier in output and then later to a UHF transmitter, in input I would like it to receive the audio signal from my smartphone, so I thought it could be connected via an old earphone cable with jack. I don't know if these components can fit. My project therefore foresees that an audio signal from my smartphone is converted into pulses and sent in radio frequency in the UHF band. Please tell me how. The purpose of my project in case you would like to know, is simply to send pulsed signals out of curiosity, but I'm not sure how to implement
 
Engineering news on Phys.org
Check out "Class D amplifiers" and study the modulating stage:
1611210732300.png
 
Svein said:
Check out "Class D amplifiers" and study the modulating stage:
View attachment 276561
ok I also thought about PWM, but I didn't pay much attention to it because I don't know about components. so if with this circuit I can through my smartphone select an audio track and send it to the circuit via cable, so that this audio track can be transformed into pulses in RF. as for the power it must be about 240 mW / cm ^ 2 and a frequency of 1 GHZ, with this circuit can I do this? Thanks in advance
my project envisaged as a pulse generator to use the NE555 chip, with this circuit you indicated to me, is it the same ??
 
Firstly, this is NOT a simple project. You need to know quite a bit about electronics/RF and have access to some good kit to be able to build something

Secondly, "converting music to pulses" can mean many different things The music on your phone is already in a digital format so the simplest way to do what you are asking about would just to upconvert the digital signal (using some type of modulation scheme) to 1 GHz.
However, it sounds like you are asking about something else such as PWM or perhaps something like DSD encoding (like SACD)
 
  • Like
Likes   Reactions: tech99
f95toli said:
Firstly, this is NOT a simple project. You need to know quite a bit about electronics/RF and have access to some good kit to be able to build something

Secondly, "converting music to pulses" can mean many different things The music on your phone is already in a digital format so the simplest way to do what you are asking about would just to upconvert the digital signal (using some type of modulation scheme) to 1 GHz.
However, it sounds like you are asking about something else such as PWM or perhaps something like DSD encoding (like SACD)
the project I was following used a pulse generator via the 555 chip. But I think with PWM modulation it is easier to connect the input to the smartphone. However, the impulses are in microwave in the 1 ghz band, so if you tell me that the speech can work as if there were the NE555 chip, then tell me where to buy all this by sending me the links because I understand little about components, I know how they work on a physical level but I can't build alone so I prefer to buy everything already done. Also because I don't have much time available, thanks for the help you are giving me, send me the links so that I can buy everything ready, if possible send me some links of Italian stores because I am Italian
 
f95toli said:
Firstly, this is NOT a simple project. You need to know quite a bit about electronics/RF and have access to some good kit to be able to build something

Secondly, "converting music to pulses" can mean many different things The music on your phone is already in a digital format so the simplest way to do what you are asking about would just to upconvert the digital signal (using some type of modulation scheme) to 1 GHz.
However, it sounds like you are asking about something else such as PWM or perhaps something like DSD encoding (like SACD)
guys, the project I'm following dates back to the 70s. I read about the DSD coding and I think it is an evolution of PWM modulation, anyway since I have little time send me the links, the store where I can buy everything ready, also because it is impulses of microwaves
 
Snoopy1234 said:
because it is impulses of microwaves
Can you say more about this part? What band will be transmitting in, and at what power (peak and average)? What modulation will you be using to encode your pulses in the microwave carrier?
 
berkeman said:
Can you say more about this part? What band will be transmitting in, and at what power (peak and average)? What modulation will you be using to encode your pulses in the microwave carrier?
uhf band more precisely 1 ghz, power 10 mW / cm ^ 2 peak and average will depend on the audio signal. for modulation as i want to connect via my smartphone, i think pwm modulation as they suggested, but pulsed anyway. Obviously these data until I do practical tests are not certain, but I cannot do practical tests until I have the tools in hand. so tell me where to buy all this, because as you well know mr berkeman i have been working on this project for a long time and i came to this section of the forum to go to practice, but i don't know what i have to buy, send me some links especially for Pulse microwave transmitter
 
Snoopy1234 said:
send me some links especially for Pulse microwave transmitter
What band would this be in Italy/Europe? Do you need a license to transmit in this band?
Snoopy1234 said:
i think pwm modulation as they suggested
PWM is a digital modulation (on/off signal), not an RF modulation.

Trying to turn the RF signal on and off at audio PWM rates is a very inefficient way to transmit information...
 
  • #10
berkeman said:
What band would this be in Italy/Europe? Do you need a license to transmit in this band?

PWM is a digital modulation (on/off signal), not an RF modulation.

Trying to turn the RF signal on and off at audio PWM rates is a very inefficient way to transmit information...
so what can i use? I had thought of a simple pulse generator with a 555 chip.
 
  • #11
however i believe pwm can work to produce rf pulses
 
  • #12
Snoopy1234 said:
however i believe pwm can work to produce rf pulses
That would generally not be an allowed modulation in the microwave bands.

Can you focus on using laser communication instead? You don't have to worry about the European equivalent of the US FCC knocking on your door as you experiment with your transmitter. On/Off keying of a laser is very straightforward, and you can build the receiver easily to demodulate the beam. You can also experiment with other modulation schemes for the laser beam to carry the information.

Back in undergrad we used to set up such a demonstration for every year's "Picnic Day", which was basically an open house for the campus to welcome alumni and families and prospective students to visit the campus. In the laser lab we would use a simple optical modulator to encode audio from an FM radio station in the beam, and use a simple optical detector at the other end of the lab to turn it back into audio. It was a low-power visible red laser, so the visitors could verify that the audio was encoded in the laser beam by just blocking the beam with their hand.

If optical communication is an option for you, we can certainly suggest low-cost components that you could purchase to build it with... :smile:

EDIT/ADD -- Although I always was thinking this while helping out with this demo for visitors to the lab...

We could just as easily have been turning a radio receiver on and off with the laser beam, instead of actually encoding the audio in the beam, and it would have shown the same behavior. None of the visitors ever brought that up though...
 
Last edited:
  • Like
Likes   Reactions: sysprog, dlgoff and Klystron
  • #13
It sounds like you are describing a voltage to frequency converter. V TO F. That's pretty simple in the audio range, but not in RF frequencies.
 
  • Like
Likes   Reactions: sysprog
  • #14
berkeman said:
That would generally not be an allowed modulation in the microwave bands.

Can you focus on using laser communication instead? You don't have to worry about the European equivalent of the US FCC knocking on your door as you experiment with your transmitter. On/Off keying of a laser is very straightforward, and you can build the receiver easily to demodulate the beam. You can also experiment with other modulation schemes for the laser beam to carry the information.

Back in undergrad we used to set up such a demonstration for every year's "Picnic Day", which was basically an open house for the campus to welcome alumni and families and prospective students to visit the campus. In the laser lab we would use a simple optical modulator to encode audio from an FM radio station in the beam, and use a simple optical detector at the other end of the lab to turn it back into audio. It was a low-power visible red laser, so the visitors could verify that the audio was encoded in the laser beam by just blocking the beam with their hand.

If optical communication is an option for you, we can certainly suggest low-cost components that you could purchase to build it with... :smile:

EDIT/ADD -- Although I always was thinking this while helping out with this demo for visitors to the lab...

We could just as easily have been turning a radio receiver on and off with the laser beam, instead of actually encoding the audio in the beam, and it would have shown the same behavior. None of the visitors ever brought that up though...
no guys I don't have to go around public places with the microwave transmitter so there is no problem with concessions. I don't really like the idea of the laser, thanks for the suggestion, but I want pulsed microwave transmission, obviously everything will be confined to my home or university, so there is no licensing problem. So tell me where can I buy the equipment to do what I said at the beginning, that is to transform one of the words, not necessarily a piece of music, into pulsed microwaves
 
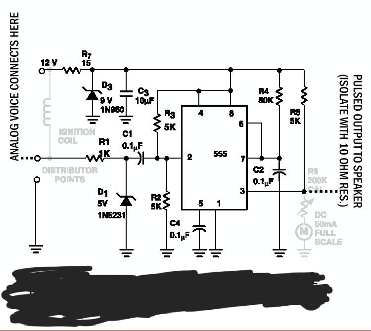
  • #15
I was following this circuit that seems to work, which is a simple pulse generator with the 555 chip, the circuit I was talking about before. Can I use this?
20210122_080143.jpg
 
  • #16
Sure, but that circuit will output pulses at audio frequencies (kHz). You are asking about RF frequencies which are a million times higher and the circuits are much, much harder to design and build. A 555 can't come even close to outputting a signal 1 GHz (I think the max frequency is something like 1 MHz).

The "easy" solution would be to use the output from such a circuit to modulate a 1 GHz signal coming from using a mixer.This is very not difficult if you are using off-the-shelf components (small boxes) but these are quite expensive (a few hundred dollars) and you would at the very least need access to a high speed oscilloscope and preferably also a spectrum analyser to test and tune everything.

Note, however, that the moment you connect this to an antenna you WILL be breaking the law. It does not matter that you are only planning to use this at home or at the university. RF signals travel VERY far and any form of "pulsed" scheme will end up creating a LOT of interference which could easily create problems for others. Not to mention the fact that you need a license to use the 1 GHz band in the first place.

My understanding is that the FCC is able to issue some very serious fines for that kind of violation. ,
 
  • Like
Likes   Reactions: davenn and berkeman
  • #17
f95toli said:
Sure, but that circuit will output pulses at audio frequencies (kHz). You are asking about RF frequencies which are a million times higher and the circuits are much, much harder to design and build. A 555 can't come even close to outputting a signal 1 GHz (I think the max frequency is something like 1 MHz).

The "easy" solution would be to use the output from such a circuit to modulate a 1 GHz signal coming from using a mixer.This is very not difficult if you are using off-the-shelf components (small boxes) but these are quite expensive (a few hundred dollars) and you would at the very least need access to a high speed oscilloscope and preferably also a spectrum analyser to test and tune everything.

Note, however, that the moment you connect this to an antenna you WILL be breaking the law. It does not matter that you are only planning to use this at home or at the university. RF signals travel VERY far and any form of "pulsed" scheme will end up creating a LOT of interference which could easily create problems for others. Not to mention the fact that you need a license to use the 1 GHz band in the first place.

My understanding is that the FCC is able to issue some very serious fines for that kind of violation. ,
guys maybe you won't believe it but I'm almost crying to know that there is finally a solution after so many months and nights spent studying. I repeat eg frequencies are high but the powers are low (less than 100 mW / cm ^ 2) and certainly I must not use it for the city. so tell me where can i buy these products online. Mr. berkman knows why I have to do all this and it only concerns the coveted curiosity, I know you know how to solve my problems, but maybe you didn't want to tell me the solution so as not to run into problems, but I am aware of the you read and I know that interacting with them would take risks, so if that's the problem, don't worry. So tell me the links, thanks in advance
 
  • Skeptical
Likes   Reactions: davenn
  • #18
f95toli said:
Sure, but that circuit will output pulses at audio frequencies (kHz). You are asking about RF frequencies which are a million times higher and the circuits are much, much harder to design and build. A 555 can't come even close to outputting a signal 1 GHz (I think the max frequency is something like 1 MHz).

The "easy" solution would be to use the output from such a circuit to modulate a 1 GHz signal coming from using a mixer.This is very not difficult if you are using off-the-shelf components (small boxes) but these are quite expensive (a few hundred dollars) and you would at the very least need access to a high speed oscilloscope and preferably also a spectrum analyser to test and tune everything.

Note, however, that the moment you connect this to an antenna you WILL be breaking the law. It does not matter that you are only planning to use this at home or at the university. RF signals travel VERY far and any form of "pulsed" scheme will end up creating a LOT of interference which could easily create problems for others. Not to mention the fact that you need a license to use the 1 GHz band in the first place.

My understanding is that the FCC is able to issue some very serious fines for that kind of violation. ,
could you please send me the product links to buy, because am i eager to use it?
 
  • #19
f95toli said:
Sure, but that circuit will output pulses at audio frequencies (kHz). You are asking about RF frequencies which are a million times higher and the circuits are much, much harder to design and build. A 555 can't come even close to outputting a signal 1 GHz (I think the max frequency is something like 1 MHz).

The "easy" solution would be to use the output from such a circuit to modulate a 1 GHz signal coming from using a mixer.This is very not difficult if you are using off-the-shelf components (small boxes) but these are quite expensive (a few hundred dollars) and you would at the very least need access to a high speed oscilloscope and preferably also a spectrum analyser to test and tune everything.

Note, however, that the moment you connect this to an antenna you WILL be breaking the law. It does not matter that you are only planning to use this at home or at the university. RF signals travel VERY far and any form of "pulsed" scheme will end up creating a LOT of interference which could easily create problems for others. Not to mention the fact that you need a license to use the 1 GHz band in the first place.

My understanding is that the FCC is able to issue some very serious fines for that kind of violation. ,
hi on the internet I found some notes on the construction of the transmitter, in these images there are the components, but I would like something that has everything inside
20210123_152542.png
20210123_152246.png
 
  • #20
Snoopy1234 said:
hi on the internet I found some notes on the construction of the transmitter, in these images there are the components, but I would like something that has everything insideView attachment 276710View attachment 276711
And now we see that you are still trying to illuminate a human with a pulsed RF source to try to get audio conversion. As you were told in your previous thread, it would take dangerous levels of microwaves to get the non-linearities needed for such a demodulation.

This thread is closed. Please do not post about this "project" again at PF.
 
  • Like
Likes   Reactions: anorlunda
  • #21
And now the member has been banned for still trying to get help with this project by using a duplicate account. Both accounts have now been banned.
 
  • Haha
  • Like
Likes   Reactions: davenn and anorlunda

Similar threads

Replies
13
Views
3K
Replies
3
Views
3K
  • · Replies 37 ·
2
Replies
37
Views
5K
Replies
19
Views
3K
  • · Replies 3 ·
Replies
3
Views
2K
Replies
9
Views
5K
Replies
10
Views
3K
  • · Replies 3 ·
Replies
3
Views
4K
  • · Replies 11 ·
Replies
11
Views
2K
  • · Replies 3 ·
Replies
3
Views
2K