Pendulum Hammer Impact Force Calculation

Click For Summary

Discussion Overview

The discussion revolves around calculating the impact force exerted on an anvil table by a pendulum hammer. Participants explore the complexities involved in estimating this force, considering various factors such as the angle of release, the dynamics of the collision, and the materials involved. The conversation includes both theoretical and practical aspects of the problem.

Discussion Character

  • Exploratory
  • Technical explanation
  • Debate/contested
  • Experimental/applied

Main Points Raised

  • Some participants suggest that the problem lacks sufficient information to arrive at a clear answer, questioning the purpose of the inquiry.
  • Others propose that if the pivot is frictionless, the impact force can be analyzed as if the anvil were directly below the hammer, implying a simplification of the dynamics involved.
  • Several participants highlight the importance of knowing the hammer's release angle and the construction of the hammer and anvil, as these factors significantly influence the impact force.
  • There is a discussion about the continuous change in acceleration during the collision, indicating that the answer is not a single value but a function dependent on various parameters.
  • Some participants mention that practical testing, such as drop tests, might provide more reliable data than analytical calculations due to the numerous unknowns involved.
  • One participant notes that the discussion relates to a specific military shock test standard (MIL-DTL-901e), which lacks detailed modeling information, complicating the analytical approach.
  • There is a suggestion that using an accelerometer could provide the maximum Gs experienced by the anvil during testing, although some participants emphasize the need for an analytical estimate before testing.

Areas of Agreement / Disagreement

Participants generally agree that the problem is complex and lacks sufficient information for a definitive analytical solution. Multiple competing views remain regarding the best approach to estimate the impact force, and the discussion remains unresolved.

Contextual Notes

Limitations include the vague setup of the problem, missing parameters such as the hammer's weight and the specifics of the collision dynamics, and the dependence on material properties and construction of the hammer and anvil.

GabeRM
Messages
12
Reaction score
7
TL;DR
Rusty w/ hand calcs. Need help with figuring out the impact force generated by a pendulum hammer.
Hi all,

I'm a bit embarrassed but I'm extremely rusty with a lot of engineering principles. I've mainly been working in automation and controls within a manufacturing setting and have not done anything like this in ages. Anyways, I have a problem I need to solve and I need to determine the impact force in Gs exerted on the Anvil table by the hammer in the attached image. Some guidance in how to solve this problem/sources of where I can find additional material to refresh on this is greatly appreciated.

Thanks!
 

Attachments

  • Hammer.PNG
    Hammer.PNG
    18.2 KB · Views: 2,144
Engineering news on Phys.org
By Goggling "impact force of a dropped object" you will find several references on the subject.

Note: Assuming the pivot is frictionless, then the answer is the same as though you simply removed the circle and moved the anvil to the right side of your figure directly below the hammer. The swing across the bottom semicircle cancels out because all of the energy (or speed) the hammer gains during that part of its downswing is lost during its following equal upswing.
 
  • Like
Likes   Reactions: GabeRM
The problem is not solvable with the information provided - it doesn't even have a clear-cut answer. What is the purpose of the question?
 
  • Like
Likes   Reactions: GabeRM
JBA said:
By Goggling "impact force of a dropped object" you will find several references on the subject.

Note: Assuming the pivot is frictionless, then the answer is the same as though you simply removed the circle and moved the anvil to the right side of your figure directly below the hammer. The swing across the bottom semicircle cancels out because all of the energy (or speed) the hammer gains during that part of its downswing is lost during its following equal upswing.
Thank you for the suggestion, I will take a look and see what I can find.
 
GabeRM said:
Summary: Rusty w/ hand calcs. Need help with figuring out the impact force generated by a pendulum hammer.

I need to solve and I need to determine the impact force in Gs exerted on the Anvil table by the hammer in the attached image.
Yikes! That's a big hammer! :wideeyed:
 
  • Like
Likes   Reactions: GabeRM
russ_watters said:
The problem is not solvable with the information provided - it doesn't even have a clear-cut answer. What is the purpose of the question?
There is a lot of missing information in this problem. The set up is very vague but ultimately, the hammer is released at some angle above the horizontal, it swings down and makes impact with the anvil. The arc radius of the travel and the weight of the hammer and anvil are known. The rest can be assumed to generate an estimate of the forces exerted upon impact. Obviously this would differ greatly if the hammer is at 15 deg. above the horizontal vs. 75 deg and the real world problem would be a lot more complicated with frictional loses as so on. But really, I'd just need to generate the equation set to where different values could be plugged in for the variables and estimates could be obtained.
 
GabeRM said:
There is a lot of missing information in this problem. The set up is very vague but ultimately, the hammer is released at some angle above the horizontal, it swings down and makes impact with the anvil. The arc radius of the travel and the weight of the hammer and anvil are known. The rest can be assumed to generate an estimate of the forces exerted upon impact.
No, the information that isn't known is much more important than what is known. The dynamics of the collision depend on the construction of the hammer and anvil. There can be orders of magnitude difference in the answer.

And again, the answer isn't a single number, but a function. the acceleration changes continuously throughout the collision as the hammer and anvil deform.

So again: please tell us what this is for. It is likely you are asking the wrong question.
 
  • Like
Likes   Reactions: GabeRM
russ_watters said:
No, the information that isn't known is much more important than what is known. The dynamics of the collision depend on the construction of the hammer and anvil. There can be orders of magnitude difference in the answer.

And again, the answer isn't a single number, but a function. the acceleration changes continuously throughout the collision as the hammer and anvil deform.

So again: please tell us what this is for. It is likely you are asking the wrong question.
This is ultimately a shock test to determine if whatever is placed on the anvil can withstand a high G value. Really only looking to know the max Gs experienced by the anvil. Does that clarify your question?
Honestly, the information I have is limited to what I've given, but to your point, I may be looking it at incorrectly or trying to figure out an answer that can't be obtained with the information given.
 
When two simple objects (i.e. two cylinders of equal diameter and known lengths) strike end to end it is possible to calculate whether the strike will exceed the elastic stress limit or not of either one or both; but when the struck area is only a partial area of one object, it becomes more difficult to determine profile of the stress experienced by the larger face and whether or not there will be permanent damage to that item. Additionally, when two very hard metal objects strike, i.e. the hammer and anvil, it is possible for one or both to chip or shatter because there will not be sufficient deformation to absorb the striking energy and determining the amount of force at which that will happen is not something I have never seen calculated.
 
  • Like
Likes   Reactions: GabeRM and russ_watters
  • #10
Can you measure it? I don't see a viable way to get you in the ballpark analytically.

To be honest, I'm not sure how such tests are done in real life, but I would have assumed they are usually "drop" tests. This device will provide a consistent acceleration profile for the anvil, but not for the object you are testing. The acceleration profile for the object being tested depends on the construction of the object itself (just like the acceleration profile of the anvil depends on the construction of the anvil). In particular, the duration and peak will vary greatly.
 
  • Like
Likes   Reactions: GabeRM
  • #11


Here's a video of this type of test being done.
 
  • Like
  • Wow
Likes   Reactions: russ_watters and berkeman
  • #12
GabeRM said:
This is ultimately a shock test to determine if whatever is placed on the anvil can withstand a high G value. Really only looking to know the max Gs experienced by the anvil. Does that clarify your question?
Honestly, the information I have is limited to what I've given, but to your point, I may be looking it at incorrectly or trying to figure out an answer that can't be obtained with the information given.
If all you need to know is max G's ...you only need an accelerometer to take the reading.
 
  • Like
Likes   Reactions: russ_watters
  • #13
AZFIREBALL said:
If all you need to know is max G's ...you only need an accelerometer to take the reading.
The goal is to analytically estimate the G's before putting anything on the test machine
 
  • #14
GabeRM said:
The goal is to analytically estimate the G's before putting anything on the test machine
No way to calculate this with the data given. The number of variables and unknowns are too great as stated above.
 
Last edited:
  • Like
Likes   Reactions: russ_watters and GabeRM
  • #15
This test is based on the MIL-DTL-901e shock test. Oddly enough, there is no additional information in the spec which might allow for this test to be accurately modeled prior to testing. If I had access to one of these machines I would just use the accelerometer as suggested, but I don't. One would think that it being a mil spec that the different hammer height configurations and all variations of the test would have corresponding values tabulated..
 
  • #16
GabeRM said:
This test is based on the MIL-DTL-901e shock test. Oddly enough, there is no additional information in the spec which might allow for this test to be accurately modeled prior to testing. If I had access to one of these machines I would just use the accelerometer as suggested, but I don't. One would think that it being a mil spec that the different hammer height configurations and all variations of the test would have corresponding values tabulated..
GabeRM: Let me see if I can help in clarifying why this is hard to calculate.

Most people think, when two objects collide, they stop instantaneously. This is not true.

Also, most people feel the weight of the object is the most important factor in determining ‘impact forces’. This is also not true.

The most important information needed to understand the ‘impact’ between two objects is relative velocity and stopping time (how long does it take for the object to stop moving after it first makes contact.) or distance (how for the object travels after first making contact.).

So, we need velocity and time (or distance, which can be determined from velocity and time.).

The weight of the object has no bearing on falling velocity in earth’s gravity, if we discount air resistance (all objects on Earth fall at the same rate). The final velocity, therefore, is a function of how far the object falls.

Now let us turn to the aspect of time. The ‘time’ we are looking for is the time necessary to bring the max. velocity to zero, during the impact. This time is not zero, as many people think. It is however, very short. It may be as long as a second or it might be as short as one thousands of a second. This time period is a function of the object’s configuration, material makeup and mechanical properties.

When you know the velocity and the time needed to take that velocity to zero, only then can you determine the G loads imposed. BTW-It is a function that starts low – builds up to a max value then dissipates over time to zero.
 
  • Like
Likes   Reactions: russ_watters and GabeRM
  • #17
Looking at the video it appears that the impact is being delivered to a base on which the test item is mounted and not to the test item itself.
 
  • Like
Likes   Reactions: russ_watters and GabeRM
  • #18
Can you show us a better diagram of your actual unit. If your hammer is hitting a striker plate then that might be a route to a calculation of its impact force based upon the hammer and striker plate materials.
 
  • Like
Likes   Reactions: GabeRM
  • #19
AZFIREBALL said:
GabeRM: Let me see if I can help in clarifying why this is hard to calculate.

Most people think, when two objects collide, they stop instantaneously. This is not true.

Also, most people feel the weight of the object is the most important factor in determining ‘impact forces’. This is also not true.

The most important information needed to understand the ‘impact’ between two objects is relative velocity and stopping time (how long does it take for the object to stop moving after it first makes contact.) or distance (how for the object travels after first making contact.).

So, we need velocity and time (or distance, which can be determined from velocity and time.).

The weight of the object has no bearing on falling velocity in earth’s gravity, if we discount air resistance (all objects on Earth fall at the same rate). The final velocity, therefore, is a function of how far the object falls.

Now let us turn to the aspect of time. The ‘time’ we are looking for is the time necessary to bring the max. velocity to zero, during the impact. This time is not zero, as many people think. It is however, very short. It may be as long as a second or it might be as short as one thousands of a second. This time period is a function of the object’s configuration, material makeup and mechanical properties.

When you know the velocity and the time needed to take that velocity to zero, only then can you determine the G loads imposed. BTW-It is a function that starts low – builds up to a max value then dissipates over time to zero.

I understand what you are saying. I suppose that with the given information there doesn't appear to be a way to accurately predict the results. Thank you for your response.

JBA said:
Looking at the video it appears that the impact is being delivered to a base on which the test item is mounted and not to the test item itself.

Yes, the test item is mounted to the anvil. In the video, the tested item is shock isolated with some sort of isolation device, however, this depends on the design of the item. Some items would not be isolated in that manner, and would then be rigidly mounted to the anvil for testing (my case). By having ballpark figures on the anvil, it should be enough to have some understanding of the "impact" experienced.
 
  • #20
JBA said:
Can you show us a better diagram of your actual unit. If your hammer is hitting a striker plate then that might be a route to a calculation of its impact force based upon the hammer and striker plate materials.

Let me find one in the spec.
 
  • #21
JBA said:
Can you show us a better diagram of your actual unit. If your hammer is hitting a striker plate then that might be a route to a calculation of its impact force based upon the hammer and striker plate materials.
Here you go.
 

Attachments

  • MWSM.PNG
    MWSM.PNG
    49.1 KB · Views: 692
  • #22
Edited for clarity:
OK, now basically we have a 3000 lb hammer with a given amount of energy and vertical velocity striking a hanging 4000 lb anvil plate with little motion resistance other than its weight and inertia. So what is the velocity of the anvil plate after impact and how much force is required to accelerate the anvil plate to its velocity (if that is the right question)?

With a bit of scaling on the picture and basic calculations I have estimated the the Hammer KE = 172,500 in-lb and v = 10.72 in/sec at impact.

(See above post for the figure of actual machine)

At this point I need some mentor and member inputs regarding the above problem description.
 
Last edited:
  • Like
Likes   Reactions: GabeRM
  • #23
If I understand correctly, you have a hammer with known mass and velocity hitting an anvil with known mass. Everything rigidly attached to the anvil is part of the total anvil mass. The anvil is attached to shock mounts. The shock mounts support the system under test (SUT).

Are you interested in the impact force of the hammer against the anvil, or the force of the anvil against the shock mounts?

You should be able to estimate the force of the anvil against the shock mounts. Can you get some video of the hammer hitting the anvil? Regular 30 FPS video is too slow, but most cameras these days have a 120 FPS ("sport") mode that is better than nothing. After impact, does the hammer move with the plate, or does it bounce back? In either case, immediately after impact, the anvil has a velocity. You should be able to measure that velocity by stepping through the video one frame at a time.

At the same time, measure the compression of the shock mounts, and the velocity of the SUT at each frame. Make plots of anvil velocity and position vs time, SUT velocity and position vs time, and shock mount compression vs time.

You then take the derivative of the anvil and SUT velocities, and calculate the force from their respective masses. Find the data sheet for the shock mounts and calculate force vs deflection. You will now have three different estimates of force vs time. The difference between those estimates allows you to estimate the error.

If you want the impact force between the hammer and the anvil, you will need high speed video of the impact. The frame rate will need to be high enough to measure the duration of impact. That's the time that the hammer is in actual contact with the anvil. A frame rate of 1000 FPS will almost certainly be too slow, while 10,000 FPS will probably be faster than necessary. Find the duration of impact, then look up the equation for two masses impacting with a spring in between. Iterate the spring constant until the calculations match the video. You will then have the information to calculate the peak impact force. The hammer / anvil impact force is a useless number if you are interested in the effect on the SUT.

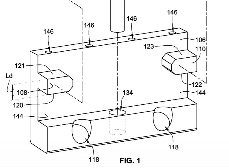
I used a similar method to find out why lugs 108 and 110 in the figure below broke when the calculated strength was about 100 lbs, and the force was from a spring similar to the spring in a ball point pen. The figure is from US Patent Application 13/350544 with publication number 20130184139.

Untitled.jpg
 
  • Like
Likes   Reactions: GabeRM
  • #24
JBA said:
At this point I need some mentor and member inputs regarding the above problem description.
I am no mentor for this but I note the following paper:
http://www.sandv.com/downloads/1611alex.pdfThis seems to indicate to me that the testing machine itself is characterized in the typical spec. (Put it on this particular machine and see if it breaks...) Here they model the typical g you repeatably expect from said machine . Its around a hundred g. Take a look.
 
  • Like
  • Wow
Likes   Reactions: GabeRM, Tom.G and JBA
  • #25
Thank you hutchphd!

Disregard my #22 post, the paper in referenced in above post #24 is directly related to the performance of the machine that is the focus of this thread and gives actual performance test data for the machine. The only difference is that the paper's tested machine's Anvil Plate wt = 4400 lb as opposed to the 4000 lb wt for the Anvil Plate given on the post #21 machine's schematic.
 
  • Like
Likes   Reactions: GabeRM
  • #26
hutchphd said:
I am no mentor for this but I note the following paper:
http://www.sandv.com/downloads/1611alex.pdfThis seems to indicate to me that the testing machine itself is characterized in the typical spec. (Put it on this particular machine and see if it breaks...) Here they model the typical g you repeatably expect from said machine . Its around a hundred g. Take a look.

Ah! I was honestly confused that I hadn't found anything like this for this knowing that it was a mil-spec test and it should be standardized with supporting calculations. Thanks for finding this! Definitely helps me out a lot.

JBA said:
Thank you hutchphd!

Disregard my #22 post, the paper in referenced in above post #24 is directly related to the performance of the machine that is the focus of this thread and gives actual performance test data for the machine. The only difference is that the paper's tested machine's Anvil Plate wt = 4400 lb as opposed to the 4000 lb wt for the Anvil Plate given on the post #21 machine's schematic.

I appreciate your help as well!

jrmichler said:
If I understand correctly, you have a hammer with known mass and velocity hitting an anvil with known mass. Everything rigidly attached to the anvil is part of the total anvil mass. The anvil is attached to shock mounts. The shock mounts support the system under test (SUT).

Are you interested in the impact force of the hammer against the anvil, or the force of the anvil against the shock mounts?

You should be able to estimate the force of the anvil against the shock mounts. Can you get some video of the hammer hitting the anvil? Regular 30 FPS video is too slow, but most cameras these days have a 120 FPS ("sport") mode that is better than nothing. After impact, does the hammer move with the plate, or does it bounce back? In either case, immediately after impact, the anvil has a velocity. You should be able to measure that velocity by stepping through the video one frame at a time.

At the same time, measure the compression of the shock mounts, and the velocity of the SUT at each frame. Make plots of anvil velocity and position vs time, SUT velocity and position vs time, and shock mount compression vs time.

You then take the derivative of the anvil and SUT velocities, and calculate the force from their respective masses. Find the data sheet for the shock mounts and calculate force vs deflection. You will now have three different estimates of force vs time. The difference between those estimates allows you to estimate the error.

If you want the impact force between the hammer and the anvil, you will need high speed video of the impact. The frame rate will need to be high enough to measure the duration of impact. That's the time that the hammer is in actual contact with the anvil. A frame rate of 1000 FPS will almost certainly be too slow, while 10,000 FPS will probably be faster than necessary. Find the duration of impact, then look up the equation for two masses impacting with a spring in between. Iterate the spring constant until the calculations match the video. You will then have the information to calculate the peak impact force. The hammer / anvil impact force is a useless number if you are interested in the effect on the SUT.

I used a similar method to find out why lugs 108 and 110 in the figure below broke when the calculated strength was about 100 lbs, and the force was from a spring similar to the spring in a ball point pen. The figure is from US Patent Application 13/350544 with publication number 20130184139.

View attachment 245471

The issue with this method is that I just don't have access to the machine until actual testing of the equipment is to be done, and even then, the physical testing wouldn't be done by anyone other than the operators. However, this is a good method for those conditions and I appreciate you taking the time to explain this method.
 
  • Like
Likes   Reactions: berkeman
  • #27
For future reference for anyone that comes across this post or is interested in more information. I came across this paper from 1972 by EW Clements: https://apps.dtic.mil/dtic/tr/fulltext/u2/746444.pdf "Shipboard Shock and Navy Devices for its Simulation", which goes into detail and actually measures impact velocities, peak anvil acceleration, and other relevant information.
 
  • Like
Likes   Reactions: hutchphd, jrmichler, JBA and 1 other person
  • #28
Let us simplify things. The change in potential energy of the hammer is known, so the velocity of the hammer at impact is known from the kinetic energy. A short time after contact, the hammer will separate from the anvil. The anvil will have quickly gained a vertical velocity. I believe that anvil velocity change is being assumed to be an instant step function. I do not believe the exact acceleration of the anvil is important in the test.

The equipment resting on the anvil will be lifted with the anvil. The time it takes the item to accelerate to anvil speed, will depend on the elastic isolation mountings employed in the equipment being tested.

The testing machine appears to be used to simulate the effect of an underwater mine or torpedo explosion on a ship. It is used to verify that equipment will survive a specified impact.
 
  • #29
Baluncore said:
It is used to verify that equipment will survive a specified impact.
I don't know what you mean...in particular how does one specify an "impact"?
What are the units of "impact" ? I believe your assessment of purpose is spot on.
 
  • #30
GabeRM said:
Summary: Rusty w/ hand calcs. Need help with figuring out the impact force generated by a pendulum hammer.
hutchphd said:
I don't know what you mean...in particular how does one specify an "impact"?
What are the units of "impact" ? I believe your assessment of purpose is spot on.
All I can say is that the machine provides a standard reproducible, virtually-irresistible, vertical-velocity step-function.
 

Similar threads

Replies
1
Views
2K
  • · Replies 19 ·
Replies
19
Views
3K
Replies
13
Views
4K
  • · Replies 4 ·
Replies
4
Views
2K
Replies
13
Views
5K
  • · Replies 12 ·
Replies
12
Views
3K
  • · Replies 28 ·
Replies
28
Views
3K
  • · Replies 3 ·
Replies
3
Views
3K
  • · Replies 9 ·
Replies
9
Views
2K
  • · Replies 1 ·
Replies
1
Views
1K