Slider Crank Force Analysis: Understanding the Equilibrium Forces and Results

Click For Summary

Discussion Overview

The discussion centers on the force analysis of a slider crank mechanism in a mechanical design context. Participants explore the equilibrium forces in different positions of the mechanism, comparing their findings with equations provided by the professor. The analysis involves concepts from statics and dynamics, with a focus on understanding the discrepancies between expected and observed results.

Discussion Character

  • Exploratory
  • Technical explanation
  • Debate/contested
  • Mathematical reasoning

Main Points Raised

  • One participant expresses confusion over the results of their force analysis on a slider crank mechanism, noting discrepancies with the professor's equations.
  • Another participant suggests that the analysis should consider the geometry of the mechanism and the relationship between input and output work, emphasizing that the tangential force is constant during rotation.
  • A later reply indicates that the force at 90 degrees does not need to be zero but only at its minimum value, suggesting a need to reconsider the analysis at different angles.
  • Some participants propose that the professor's equations may apply to a dynamic scenario rather than a static equilibrium, urging a shift in perspective regarding the motion of the crank and slider.
  • One participant mentions the importance of considering instantaneous displacements and mechanical advantages in the analysis of forces and torques in the mechanism.

Areas of Agreement / Disagreement

Participants express differing views on the nature of the forces in the slider crank mechanism, particularly regarding static versus dynamic conditions. There is no consensus on the correct interpretation of the forces at various positions of the crank.

Contextual Notes

Participants highlight the complexity of the analysis, noting that assumptions about static equilibrium may not hold in dynamic scenarios. The discussion also touches on the limitations of the provided equations and the need for a deeper understanding of the mechanism's behavior at different angles.

icecats
Messages
5
Reaction score
0
I am in a mechanical design class that has been focusing on the slider crank mechanism. My professor tends to just provide derived equations without showing the analysis. I feel like I am missing out on some key understanding because of this. Specifically, I am trying to do what should be a simple force analysis on a simplified slider crank. However, my results are not matching up with what the professors equations suggest.
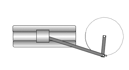
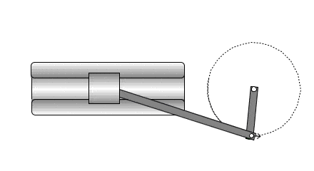
In the attached pictures, Case 1 shows the slider crank in one position and Case 2 shows it in a different position. Based on a statics force analysis, I would expect that, for the same torque T, the equilibrium force F in Case 1 would be higher than Case 2. In fact, I would expect that F in Case 2 would be 0. However, the equations provided in class and intuition from the operation of a slider crank suggest the opposite. What am I doing wrong? I feel like it has something to do with the fact that the joints are pin joints and not rigid.
Thanks!
PXL_20211114_154654848.jpg

PXL_20211114_154658045.jpg
 
Physics news on Phys.org
icecats said:
... Based on a statics force analysis, I would expect that, for the same torque T, the equilibrium force F in Case 1 would be higher than Case 2.
...
Could you show us that statics force analysis?

The magnitude of the tangential force perpendicular to a is constant during a full rotation.
As its direction constantly changes respect to the axis of freedom of the piston, it is a pure geometrical problem of vectors.

You can also analyze it as work in and work out of the mechanism.
The input work done by the shaft is constant; therefore, the output work at the piston (force x slid distance) should be equal, assuming no mechanical loses.

When reaching zero degrees or TDC, the traveled distance by the piston tends to zero; hence, the force should tend to...
When reaching 90 degrees, the slid distance by the piston is the greatest of that stroke; hence, the force should tend to...

Slidercrank.gif
 
Last edited:
Lnewqban said:
Could you show us that statics force analysis?

The magnitude of the tangential force perpendicular to a is constant during a full rotation.
As its direction constantly changes respect to the axis of freedom of the piston, it is a pure geometrical problem of vectors.

You can also analyze it as work in and work out of the mechanism.
The input work done by the shaft is constant; therefore, the output work at the piston (force x slid distance) should be equal, assuming no mechanical loses.

When reaching zero degrees or TDC, the traveled distance by the piston tends to zero; hence, the force should tend to...
When reaching 90 degrees, the slid distance by the piston is the greatest of that stroke; hence, the force should tend to...

View attachment 292285
Thanks for your help!
I have attached the statics force analysis. For Case 1, I would expect the force F to be a maximum. For Case 2, I would expect the force F to be 0 because there is no component of applied force in the x-direction.

Following the work relation, I would expect:
  • When reaching zero degrees or TDC, the traveled distance by the piston tends to zero; hence, the force should tend to... be the highest.
  • When reaching 90 degrees, the slid distance by the piston is the greatest of that stroke; hence, the force should tend to... be the lowest (tend towards 0).
This seemingly contradicts my statics analysis.
PXL_20211114_170532651.jpg
 
Last edited:
  • Like
Likes   Reactions: icecats
icecats said:
Based on a statics force analysis, I would expect that, for the same torque T, the equilibrium force F in Case 1 would be higher than Case 2. In fact, I would expect that F in Case 2 would be 0.
That is the case when the system is in static equilibrium, however I would imagine that the professor's equations are for the case when the crank is rotating.

So you need to throw away your intuition regarding the static case and replace it with intuition about the case when the crank is rotating and the slider is moving backwards and forwards. Can you describe that motion?
 
Lnewqban said:
Exactly!
Only that at 90 degrees the force does not need to be zero, only at its minimum value.
Back to the drafting board, but this time using 10 degrees rather than zero.
Hint:
https://www.engineeringtoolbox.com/toggle-joint-d_2077.html
The toggle joint makes intuitive sense to me. I was able to work out the static analysis and derive the same equation. Thanks for your help!
PXL_20211114_185756146.jpg


pbuk said:
That is the case when the system is in static equilibrium, however I would imagine that the professor's equations are for the case when the crank is rotating.

So you need to throw away your intuition regarding the static case and replace it with intuition about the case when the crank is rotating and the slider is moving backwards and forwards. Can you describe that motion?
I was assuming the case where the mechanism is in static equilibrium; that is, the force against the block is enough to balance the input torque.
 
The instantaneous displacement/velocity of the sliding piston is always equal to the component in that same direction of the instantaneous tangential displacement/velocity of the ab joint.
Regarding instantaneous torques and forces, you must consider the mechanical advantage that the instantaneous geometry of the mechanism allows.

For more complicated mechanisms, your teacher may teach you the following method soon:
http://www.u.arizona.edu/~pen/ame352/Notes PDF/5.3 Velocity-graphical.pdf

http://alistairstutorials.co.uk/tutorial14.html
 

Similar threads

  • · Replies 1 ·
Replies
1
Views
4K
  • · Replies 5 ·
Replies
5
Views
2K
  • · Replies 2 ·
Replies
2
Views
3K
Replies
1
Views
9K
Replies
7
Views
3K
  • · Replies 13 ·
Replies
13
Views
4K
  • · Replies 3 ·
Replies
3
Views
5K
  • · Replies 3 ·
Replies
3
Views
3K
  • · Replies 13 ·
Replies
13
Views
4K
  • · Replies 3 ·
Replies
3
Views
14K