With what acceleration 2m will move?

  • Thread starter Thread starter kaspis245
  • Start date Start date
  • Tags Tags
    Acceleration
Click For Summary

Homework Help Overview

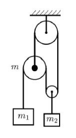
The discussion revolves around a system of pulleys and the acceleration of mass m2 within that system. Participants are exploring the application of Newton's laws of motion to determine the acceleration of the mass.

Discussion Character

  • Exploratory, Assumption checking

Approaches and Questions Raised

  • Participants are attempting to derive the acceleration using Newton's laws and are questioning the validity of their results. Some are checking the consistency of tension equations, while others are uncertain about the assumptions regarding the pulleys' mass and rotational inertia.

Discussion Status

The discussion is ongoing, with participants raising questions about the correctness of their approaches and the assumptions made in the problem setup. There is a focus on clarifying the relationships between the variables involved and ensuring that all relevant factors are considered.

Contextual Notes

There are concerns about whether the mass and rotational inertia of the pulleys can be ignored, which may affect the analysis. Additionally, the completeness of the problem statement is questioned.

kaspis245
Messages
189
Reaction score
1

Homework Statement


A system of pulleys is given. I need to find with what acceleration mass m2 will move.
Untitled.png


Homework Equations


Newton's laws of motion.

The Attempt at a Solution


uzduotis.jpg


Is it right?
 
Physics news on Phys.org
As a check, plug in your result of a=-g back into your Newton-Law equations to get expressions for T1 and for T2.
Are those results consistent with what you claim about how T1 and T2 are related?

Are the a's the same for the two objects? Can you justify your answer?
 
I thing it's incorrect. How should I solve it?
 
kaspis245 said:

Homework Statement


A system of pulleys is given. I need to find with what acceleration mass m2 will move.
[IMG ]http://s7.postimg.org/483jmjjdn/Untitled.png[/PLAIN]

Homework Equations


Newton's laws of motion.

The Attempt at a Solution


[IMG ]http://s3.postimg.org/lya41d7pf/uzduotis.jpg[/PLAIN]

Is it right?
What is the complete statement of the problem?

Can we ignore the rotational inertia of the pulleys? How about the mass of the pulleys? It looks as if one of them has mass, m .
 

Similar threads

  • · Replies 22 ·
Replies
22
Views
2K
  • · Replies 5 ·
Replies
5
Views
2K
  • · Replies 3 ·
Replies
3
Views
2K
  • · Replies 23 ·
Replies
23
Views
3K
Replies
23
Views
3K
  • · Replies 17 ·
Replies
17
Views
3K
  • · Replies 3 ·
Replies
3
Views
2K
  • · Replies 2 ·
Replies
2
Views
2K
Replies
15
Views
2K
Replies
17
Views
2K