Block on movable wedge pulley system

Click For Summary

Homework Help Overview

The discussion revolves around the relationship between the acceleration of a block on a movable wedge and the acceleration of the wedge itself, within the context of a pulley system. Participants are examining the dynamics involved when the wedge moves and how it affects the block's motion.

Discussion Character

  • Conceptual clarification, Mathematical reasoning, Assumption checking

Approaches and Questions Raised

  • Participants are exploring the relationship between the accelerations of the block and the wedge, with some attempting to derive equations based on the geometry of the system. Questions are raised regarding the assumptions made about the movement of the string and the implications of the wedge's motion on the block's acceleration.

Discussion Status

There is an ongoing examination of the reasoning behind the relationships proposed. Some participants have offered alternative perspectives on the string's behavior and the resulting motion of the block. Multiple interpretations of the problem are being explored, and participants are questioning the validity of initial assumptions without reaching a consensus.

Contextual Notes

Participants are discussing the implications of the inextensibility of the string and the geometric relationships involved in the system. There are references to specific angles and distances that may affect the calculations, but no definitive conclusions have been drawn.

Vibhor
Messages
971
Reaction score
40

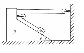
Homework Statement



What is the relationship between " acceleration of block with respect to wedge" and "acceleration of wedge " ?

?temp_hash=34175f5b3d5bcd80ca21b4a65ba7db0c.png

Homework Equations

The Attempt at a Solution



?temp_hash=34175f5b3d5bcd80ca21b4a65ba7db0c.png


If the wedge moves by x units , then the string gets loosened/shortened at three places . The top two are x units .The last one in red is xcosθ .The total effect is the block moves down by a distance (2 + cosθ)x .

So, if acceleration of the wedge is 'a' then acceleration of block with respect to wedge aB,W = (2+cosθ)a .

But , this is incorrect .

Where am I getting it wrong ?

Many Thanks

 

Attachments

  • wedge.PNG
    wedge.PNG
    5 KB · Views: 626
  • wedge1.PNG
    wedge1.PNG
    4.5 KB · Views: 742
Physics news on Phys.org
sorry the ans should accof wedge=2acc of blockwrtwedge
 
Yash123 said:
sorry the ans should accof wedge=2acc of blockwrtwedge

Could you explain your reasoning as well as point out flaw in my reasoning ?

@haruspex , @ehild please see this problem .
 
If to displace the wedge by let's say x meters then the string which you marked with green will displace x similarly the blue one would move x too hence total disp in x dir would be equal = 2x this would result in the increase of length in the red string as the string is inextensible...
what you did is you assumed the the string connected to block will definitely move x cos(theta) that's not correct...
 
If the wedge moves to the right a distance of x, I agree that the two horizontal rope segments decrease in length by x (as you have shown). But isn't it true that whatever length the rope decreased in those segments has to be the same as the increase in the length of the sloped segment of rope? The rope has to stay the same length, true? So if you lost a total of x+x=2x length of rope in the horizontal segments, don't you have to gain that same amount in the sloped segment?
 
  • Like
Likes   Reactions: Vibhor
Vibhor said:

Homework Statement



What is the relationship between " acceleration of block with respect to wedge" and "acceleration of wedge " ?

?temp_hash=34175f5b3d5bcd80ca21b4a65ba7db0c.png

Homework Equations

The Attempt at a Solution



?temp_hash=34175f5b3d5bcd80ca21b4a65ba7db0c.png


If the wedge moves by x units , then the string gets loosened/shortened at three places . The top two are x units .The last one in red is xcosθ .The total effect is the block moves down by a distance (2 + cosθ)x .
The horizontal part of the sting gets shorter by 2x. So the part along the wedge gets longer by 2x. If the velocity of the wedge is V, the relative velocity of the block with respect to the wedge is vr=2V. You should consider the x component of that relative velocity. The the x component of velocity of the block with respect to the ground is the sum of V and the x component of vr.
 
Last edited:
  • Like
Likes   Reactions: Vibhor

Similar threads

  • · Replies 37 ·
2
Replies
37
Views
3K
  • · Replies 15 ·
Replies
15
Views
2K
  • · Replies 2 ·
Replies
2
Views
2K
  • · Replies 5 ·
Replies
5
Views
1K
Replies
3
Views
2K
  • · Replies 1 ·
Replies
1
Views
3K
  • · Replies 8 ·
Replies
8
Views
2K
Replies
3
Views
2K
  • · Replies 2 ·
Replies
2
Views
1K
  • · Replies 22 ·
Replies
22
Views
3K